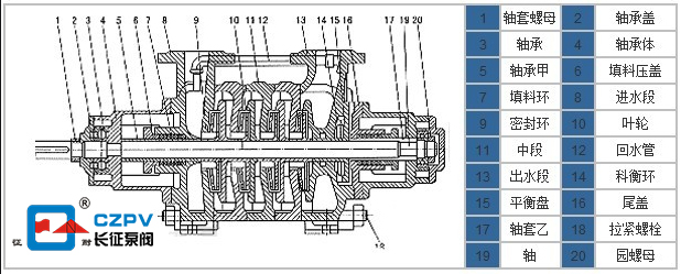
鍋爐給水多級離心泵可以輸送清水或者物理化學性質類似于清水的液體,適用于中、低壓鍋爐給水使用,一般可以作多級離心泵使用,被輸送液體溫度低于150度。下面由水泵廠家對鍋爐給水多級離心泵的結構進行說明。
1.泵體
主要有軸承,前,中,后三段,導葉等用螺桿連接為一體,前段吸入口中線,后段吐出口中線水平垂直。
2.轉子
轉子主要有軸承及安裝在軸上的葉輪,軸套,平衡盤等零件組成。軸上零件用平鍵和軸套螺母緊固,使它與軸連成一體。整個轉子由兩端滑動軸承支撐在泵殼體上,轉子部分的葉輪數目根據該泵的級數來確定。
3.軸承
鍋爐給水多級離心泵的軸承為滾動軸承,軸承不承受軸向力。在運行中應該允許轉子部分在泵殼體中軸向運動,軸承用稀油潤滑。
4.密封
該泵的密封面采用潤滑脂密封,轉子部分和固定部分之間依靠密封環,導葉套,填料密封等,當密封環和導葉套磨損時影響該泵的工作性能,應該及時予以更換。
5.平衡結構
平衡結構由平衡環,平衡盤,平衡套等組成,平衡結構用于該泵的軸向力。
6.軸封和冷卻
該泵使用時,軸封一定要接水封水。采用水封水外接外來水。輸送的介質高于80度時,必須向水冷填料壓蓋和軸封冷卻室通入冷卻水。


CZW型臥式管道增壓離心泵
LG、LG-B型-多級立式不銹鋼礦用多級離心泵
czl系列單級單吸立式管道離心泵
